目次
組織メニュー
※下図はStandardプランをご契約の組織へ管理者Studioユーザーでログインした場合です。
管理者Studioユーザー以外の場合
管理者以外のStudioユーザーでログインした場合は下図のように表示されます。
設定
組織の設定画面が表示されます。
名前
組織の名前です。
関連ミニアプリ
Platioアプリのミニアプリ一覧に、組織内ミニアプリ(関連ミニアプリ)の一覧表示を有効にするかどうか設定します。
オフ:関連ミニアプリの表示が無効です。(初期値)
オン:関連ミニアプリの表示が有効です。
Platioアプリでの画面
統合されたユーザー
統合されたユーザーを管理する画面を表示します。「統合されたユーザー」を参照してください。
※共通ユーザーモードを有効にした後、このメニューは表示されません。
共通ユーザー
※共通ユーザーモードを有効にした後、このメニューが表示されます。「共通ユーザーモードを有効にする」を参照してください。
共通ユーザーを管理する画面を表示します。
管理者Studioユーザーの場合
管理者Studioユーザーでログインした場合は下図のように表示されます。
管理者Studioユーザー以外の場合
管理者以外のStudioユーザーでログインした場合は下図のように表示されます。
IPアドレス制限
※この項目は、管理者Studioユーザーにのみ表示されます。
Platio Studioを利用する端末のIPアドレスを管理する画面を表示します。「IPアドレス制限(Studio)」を参照してください。
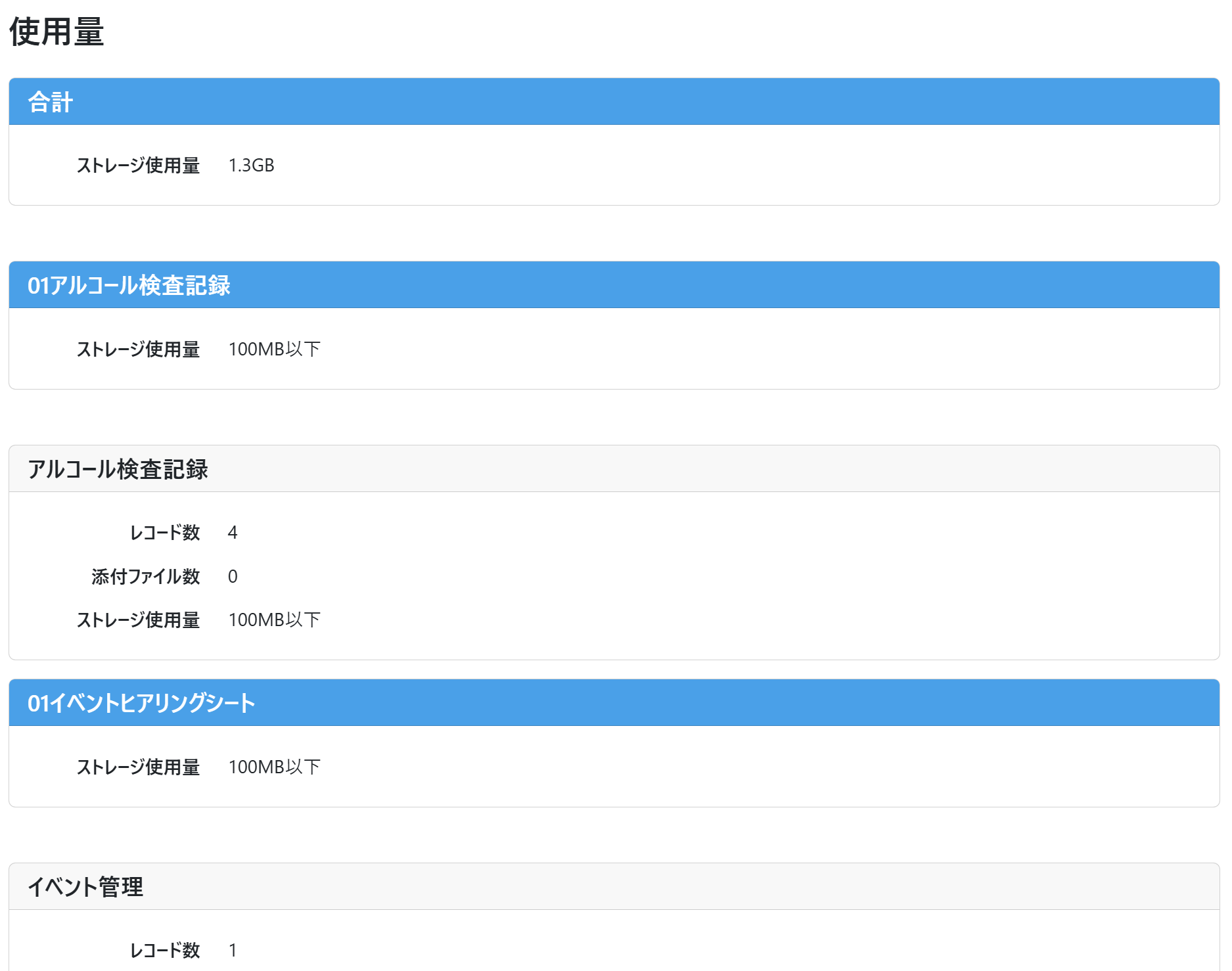
使用量
契約中のストレージ使用量の合計と、各ミニアプリ内のデータポケットごとにレコード数、添付ファイル数、ストレージ使用量を表示します。
Platio Studioの使用量は一日一回更新されます。
※リアルタイムには反映されず、表示した時点の使用量ではありません。
Studioユーザー
※この項目は、管理者Studioユーザーにのみ表示されます。
Studioユーザーを管理する画面を表示します。「Studioユーザー」を参照してください。
Studioユーザーグループ
※この項目は、管理者Studioユーザーにのみ表示されます。
Studioユーザーグループを管理する画面を表示します。「Studioユーザーグループ」を参照してください。